文档详情

YT4543滑台液压系统

m****
实名认证
店铺
DOCX
105.36KB
约3页
文档ID:158855287
YT4543滑台液压系统_第1页
1/3

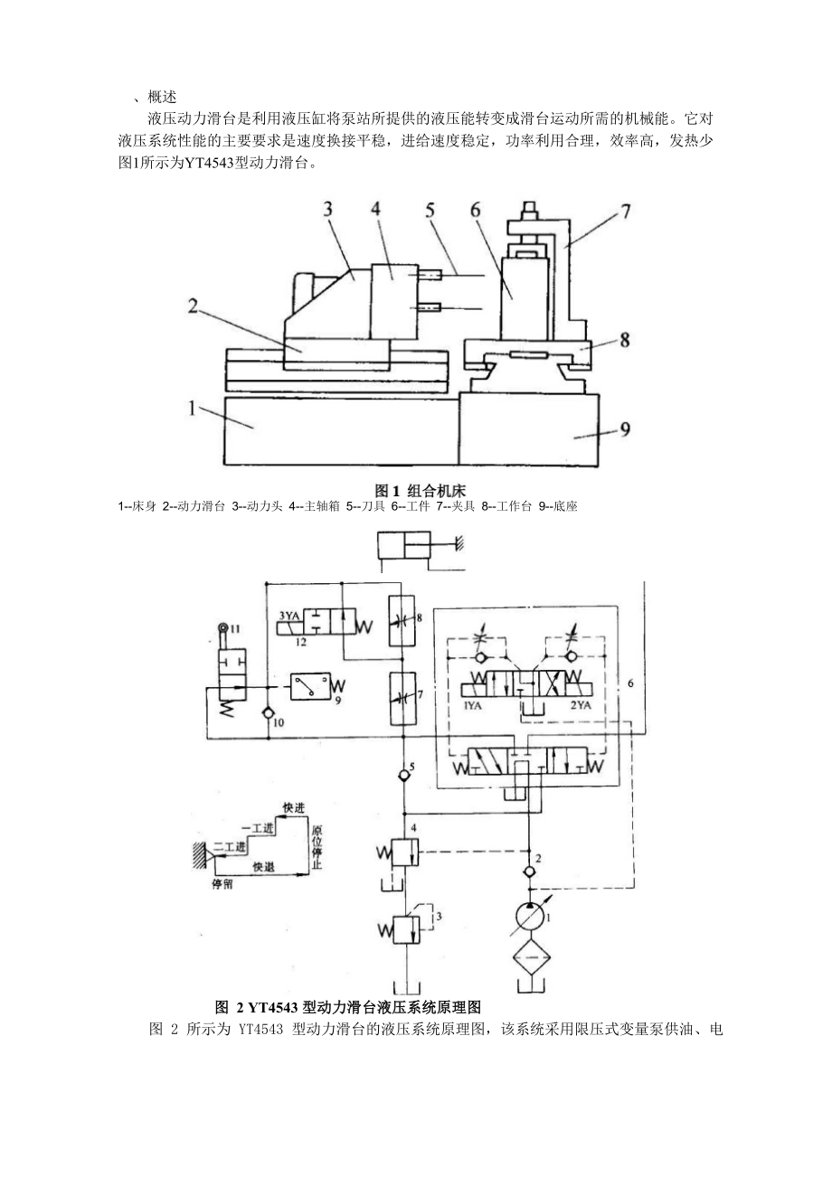
概述液压动力滑台是利用液压缸将泵站所提供的液压能转变成滑台运动所需的机械能它对 液压系统性能的主要要求是速度换接平稳,进给速度稳定,功率利用合理,效率高,发热少 图1所示为YT4543型动力滑台1--床身 2--动力滑台 3--动力头 4--主轴箱 5--刀具 6--工件 7--夹具 8--工作台 9--底座图 2 YT4543 型动力滑台液压系统原理图图 2 所示为 YT4543 型动力滑台的液压系统原理图,该系统采用限压式变量泵供油、电 液动换向阀换向、快进由液压缸差动连接来实现用行程阀实现快进与工进的转换、二位二 通电磁换向阀用来进行两个工进速度之间的转换,为了保证进给的尺寸精度,采用了止挡块 停留来限位通常实现的工作循环为;快进 T 第一次工作进给—> 第二次工作进给—> 止挡块停留—> 快退—> 原位停 止二、YT4543型动力滑台液压系统的工作原理1、快进按下启动按钮,电磁铁1YA得电,电液动换向阀10的先导阀阀芯向右移动从而引起主 阀芯向右移,使其左位接人系统,其主油路为:进油路:泵1 单向阀 2 换向阀 6(左位) 行程阀 11(下位) 液压缸左腔回油路:液压缸的右腔换向阀6(左位)单向阀5行程阀11(下位)液压缸左腔,形成 差动连接。

2.第一次工作进给 当滑台快速运动到预定位置时,滑台上的行程挡块压下了行程阀11的阀芯,切断了该 通道,使压力油须经调速阀 7 进入液压缸的左腔由于油液流经调速阀,系统压力上升,打 开液控顺序阀4,此时单向阀5的上部压力大于下部压力,所以单向阀5关闭,切断了液压 缸的差动回路,回油经液控顺序阀4和背压阀3流回油箱使滑台转换为第一次工作进给其 油路是:进油路:泵1 单向阀 2 换向阀 6(左位) 调速阀 7 换向阀 12(右位) 液压缸左腔; 回油路:液压缸右腔 换向阀 6(左位) 顺序阀 4 背压阀 3 油箱因为工作进给时,系统压力升高,所以变量泵 1 的输油量便自动减小,以适应工作进给 的需要,进给量大小由调速阀 7 调节3.第二次工作进给第一次工进结束后,行程挡块压下行程开关使3YA通电,二位二通换向阀将通路切断, 进油必须经调速阀7、 8才能进入液压缸,此时由于调速阀8的开口量小于阀7,所以进给 速度再次降低,其它油路情况同一工进4.止挡块停留 当滑台工作进给完毕之后,碰上止挡块的滑台不再前进,停留在止挡块处,同时系统压力升高,当升高到压力继电器9 的调整值时,压力继电器动作,经过时间继电器的延时,再 发出信号使滑台返回,滑台的停留时间可由时间继电器在一定范围内调整。

5.快退时间继电器经延时发出信号,2YA通电,1YA、3YA断电,主油路为: 进油路:泵1 单向阀 2 换向阀 6(右位) 液压缸右腔; 回油路:液压缸左腔 单向阀 10 换向阀 6( 右位 ) 油箱6.原位停止当滑台退回到原位时,行程挡块压下行程开关,发出信号,使2YA断电,换向阀6处于 中位,液压缸失去液压动力源,滑台停止运动液压泵输出的油液经换向阀6直接回油箱, 泵卸荷;该系统的动作循环表和各电磁铁及行程阀动作如表7-2所示7-2电磁铁和行程阀动作顺序裘电穗铁 冇程阀信号亲源液压缸工榨循环巩八快进工进抉退1停止厂工进二工进'…nIYA右行程阀+13YA,42YA+■三、YT4543动力滑台液压系统的特点(1) 系统采用了限压式变量叶片泵一调速阀一背压阀式的调速回路,能保证稳定的低速 运动(进给速度最小可达6.6mm / min)、较好的速度刚性和较大的调速范围(R=100)2) 系统采用了限压式变量泵和差动连接式液压缸来实现快进,能源利用比较合理滑 台停止运动时,换向阀使液压泵在低压下卸荷,减少能量损耗3) 系统采用了行程阀和顺序阀实现快进与工进的换接,不仅简化了电气回路,而且使 动作可靠,换接精度亦比电气控制高,至于两个工进之间的换接则由于两者速度都较低,采 用电磁阀完全能保证换接精度。

下载提示
相关文档
正为您匹配相似的精品文档